标题: 2013年六一猪宴淘宝收款统计——整猪卖第七期
信天谨游
管理员
Rank: 9Rank: 9Rank: 9


UID 5
精华 0
积分 0
帖子 29695
阅读权限 200
注册 2007-4-3
状态 离线
发表于 2013-5-15 11:02  资料 文集 短消息 
2013年六一猪宴淘宝收款统计——整猪卖第七期

一、本次收款用于2013年六一猪宴活动;                                       
二、本次统计起止日期为:2013年1月17日下午14:35(上架时间)至2013年5月31日23:59分止,共五次统计。之后的计入下期元旦节日宴。                                       
三、第七期整猪卖淘宝收款统计数据汇总明细:                                       
(2013年1月17日至2013年5月31日成交共76单,收款共137600元.)                                       
2013年1月份统计:本月共成交14单,交易金额32000元,成交时间:2013.01.17至2013.01.31                               
2013年2月份统计:本月成交16单,交易金额27200元,成交时间:2013.02.01至2013.02.28
2013年3月份统计:本月共成交6单,交易金额9600元,成交时间:2013.03.01至2013.03.31
2013年4月份统计:本月共成交13单,交易金额25600元,成交时间:2013.04.01至2013.04.30                               
2013年5月份统计:本月共成交27单,交易金额43200元,成交时间:2013.05.01至2013.05.31   
以上合计:第七期整猪卖共成交76单,共交易金额为:137600元。(折合猪86头,按1600/头)


特别说明:
第七期整猪在2013年6月1日后还继续出售,一直到第八期整猪上架后,才下架。
故:2013年6月1日之后的第七期整猪,将用于2014年元旦节举办节日宴用。
具体统计如下:
                              
2013年6月份统计共成交4单,交易金额6400元,成交时间:2013.06.01至2013.06.20(下架时间),此次收款即将转入下次猪宴活动。                                
                                                        
总编号        月编号        订单编号        买家会员名        买家实际支付金额        订单状态        订单创建时间        订单付款时间
77        1        359075802928594         tb1092525_2011        1600        交易成功        2013-6-2 17:54        2013-6-2 17:56
78        2        227743505911152         df4ddf8b        1600        交易成功        2013-6-10 02:18        2013-6-10 02:19
79        3        228719859206238         阳阳花花        1600        交易成功        2013-6-13 21:34        2013-6-13 21:34
80        4        229162741684548         安安爱家小屋        1600        交易成功        2013-6-15 12:46        2013-6-16 11:50
                合计                6400                        
本月交易金额为:6400元。

2013年6月20日更新


------------------------------------------分界线(以下是2013年6月23日更新)---------------------------------------------


2013年6月23日核查,第七期整猪统计时遗漏了2013年3月3日一单,信息如下:
                                      
   订单编号              买家会员名     买家实际支付金额    订单状态           订单创建时间        订单付款时间          宝贝标题
198205498487195         重庆的大鱼                  1600                   交易成功            2013-3-3 18:03         2013-3-5 01:55        猪(完整一头猪,第七期)

故:
2013年6月24日修正统计:第七期完整一头猪,共计收到137600元+1600元(此1600元将转入下次猪宴活动)=139200元。
收款时间为:2013年1月17日下午14:35(上架时间)至2013年5月31日23:59分止。

由于我们的工作失误给捐助人带来疑问和麻烦,深表歉意,对不起。
为了避免统计出错,我们在文字数据公布的后面,再把截图的原始数据也公布一遍(图片版),这样与公布的文字版也能相互核对。

谢谢大家。

信天谨游
2013年6月23日更新
2013年6月24日更新
顶部
信天谨游
管理员
Rank: 9Rank: 9Rank: 9


UID 5
精华 0
积分 0
帖子 29695
阅读权限 200
注册 2007-4-3
状态 离线
发表于 2013-5-15 11:02  资料 文集 短消息 
预留
顶部
信天谨游
管理员
Rank: 9Rank: 9Rank: 9


UID 5
精华 0
积分 0
帖子 29695
阅读权限 200
注册 2007-4-3
状态 离线
发表于 2013-5-15 11:06  资料 文集 短消息 
2013淘宝整猪第七期数据统计:(第七期1月份统计)                                       
2013年1月份统计共成交14单,交易金额32000元,成交时间:2013.01.17-14:35(上架日期)至2013.01.31                                       
总编号        月编号        订单编号        买家会员名        买家实际支付金额        订单状态        订单创建时间        订单付款时间
1        1        285511840171394         jampolking        1600        交易成功        2013-1-17 15:23        2013-1-17 15:24
2        2        190077580914793         gooba        1600        交易成功        2013-1-18 16:15        2013-1-18 16:17
3        3        220629830702089         weiweiouyang        1600        交易成功        2013-1-20 00:14        2013-1-20 00:14
4        4        190442587847178         无忌票根        1600        交易成功        2013-1-20 08:14        2013-1-20 08:15
5        5        190627582011955         水煮活鱼1        1600        交易成功        2013-1-20 21:20        2013-1-20 21:21
6        6        190946817277393         qiuqiu_kittu        1600        交易成功        2013-1-22 11:09        2013-1-22 11:14
7        7        287977568897393         qiuqiu_kittu        1600        交易成功        2013-1-22 11:09        2013-1-22 11:13
8        8        287977409587393         qiuqiu_kittu        1600        交易成功        2013-1-22 11:09        2013-1-22 11:11
9        9        221414399384778         dainythboy        1600        交易成功        2013-1-22 12:35        2013-1-22 12:36
10        10        289257324168629         sz3769        3200        交易成功        2013-1-24 15:40        2013-1-24 15:42
11        11        290668484819188         yifuyinzi064        3200        交易成功        2013-1-27 14:34        2013-1-27 14:49
12        12        223160113936894         yell64        8000        交易成功        2013-1-27 16:25        2013-1-27 16:30
13        13        291316726954373         kokonithe9        1600        交易成功        2013-1-28 20:03        2013-1-28 20:12
14        14        224249710865061         蜜乌喵        1600        交易成功        2013-1-31 10:34        2013-1-31 10:38
                合计                32000                       
                本月交易金额为:32000元。
顶部
信天谨游
管理员
Rank: 9Rank: 9Rank: 9


UID 5
精华 0
积分 0
帖子 29695
阅读权限 200
注册 2007-4-3
状态 离线
发表于 2013-5-15 11:08  资料 文集 短消息 
2013淘宝整猪第七期数据统计:((第七期2月份统计))                                       
2013年2月份统计共成交16单,交易金额27200元,成交时间:2013.02.01至2013.02.28                                       
总编号        月编号        订单编号        买家会员名        买家实际支付金额        订单状态        订单创建时间        订单付款时间
15        1        193618378565207         zqyuan1977        1600        交易成功        2013-2-3 15:31        2013-2-3 15:34
16        2        293717207475051         懒死的熊猫        1600        交易成功        2013-2-4 14:09        2013-2-4 14:11
17        3        293954360944747         追风传说1        1600        交易成功        2013-2-5 18:23        2013-2-5 18:25
18        4        193856456522591         len343_2001        3200        交易成功        2013-2-5 22:59        2013-2-5 23:01
19        5        225306117117057         蜜蜂熊0978        1600        交易成功        2013-2-6 11:11        2013-2-6 11:18
20        6        194094984135937         色而不淫的摄影器材店        1600        交易成功        2013-2-8 19:04        2013-2-8 19:04
21        7        194094984375937         色而不淫的摄影器材店        1600        交易成功        2013-2-8 19:04        2013-2-8 19:04
22        8        225543559853701         pinpy1982        1600        交易成功        2013-2-9 03:29        2013-2-9 03:29
23        9        225680395312652         lingflag        1600        交易成功        2013-2-10 20:32        2013-2-10 20:32
24        10        225938798825377         wufangaa        1600        交易成功        2013-2-13 23:35        2013-2-13 23:35
25        11        295012882545377         wufangaa        1600        交易成功        2013-2-13 23:37        2013-2-14 11:35
26        12        226132113571677         aya_929        1600        交易成功        2013-2-15 17:29        2013-2-15 17:35
27        13        194705731408142         广州银岸零件        1600        交易成功        2013-2-16 23:02        2013-2-16 23:05
28        14        296565246318485         scherz        1600        交易成功        2013-2-18 21:26        2013-2-18 21:26
29        15        227258476541756         q126772009        1600        交易成功        2013-2-19 21:56        2013-2-22 20:14
30        16        298416081581756         q126772009        1600        交易成功        2013-2-22 20:21        2013-2-23 22:17
                合计                27200                       
                本月交易金额为:27200元。
顶部
信天谨游
管理员
Rank: 9Rank: 9Rank: 9


UID 5
精华 0
积分 0
帖子 29695
阅读权限 200
注册 2007-4-3
状态 离线
发表于 2013-5-15 11:09  资料 文集 短消息 
2013淘宝整猪第七期数据统计:(第七期3月份统计)                                       
2013年3月份统计共成交6单,交易金额9600元,成交时间:2013.03.01至2013.03.31                                       
总编号        月编号        订单编号        买家会员名        买家实际支付金额        订单状态        订单创建时间        订单付款时间
31        1        305445728894703         yxjoyce        1600        交易成功        2013-3-7 21:53        2013-3-7 21:55
32        2        308635282918796         patrickhuang        1600        交易成功        2013-3-13 13:10        2013-3-13 13:11
33        3        309110201694440         hedejie_2009        1600        交易成功        2013-3-14 10:19        2013-3-14 10:23
34        4        313762449996835         秋小蝴蝶        1600        交易成功        2013-3-22 11:10        2013-3-22 11:14
35        5        240195753434230         绿色玉米        1600        交易成功        2013-3-27 22:34        2013-3-27 22:34
36        6        205306389576433         ann_bupt        1600        交易成功        2013-3-28 18:32        2013-3-28 18:33
                合计                9600                       
                本月交易金额为:9600元。
顶部
信天谨游
管理员
Rank: 9Rank: 9Rank: 9


UID 5
精华 0
积分 0
帖子 29695
阅读权限 200
注册 2007-4-3
状态 离线
发表于 2013-5-15 11:10  资料 文集 短消息 
2013淘宝整猪第七期数据统计:(第七期4月份统计)                               
2013年4月份统计共成交13单,交易金额25600元,成交时间:2013.04.01至2013.04.30                                               
总编号        月编号        订单编号        买家会员名        买家实际支付金额        订单状态        订单创建时间        订单付款时间
37        1        207780456765652         jinyionline        1600        交易成功        2013-4-6 22:12        2013-4-6 22:13
38        2        323896126749188         yifuyinzi064        1600        交易成功        2013-4-8 22:14        2013-4-8 22:16
39        3        247476319277040         bv1818        1600        交易成功        2013-4-16 14:40        2013-4-16 14:42
40        4        247720351051152         df4ddf8b        1600        交易成功        2013-4-16 23:47        2013-4-16 23:48
41        5        211066216182001         弯中减档        1600        交易成功        2013-4-18 00:24        2013-4-18 00:27
42        6        330032766731896         88sunandmoon        1600        交易成功        2013-4-18 22:08        2013-4-19 10:08
43        7        249487117020358         wcn7088        1600        交易成功        2013-4-21 15:30        2013-4-21 15:34
44        8        332178923681403         zzwwtc        1600        交易成功        2013-4-22 16:09        2013-4-22 20:38
45        9        212975972539330         huaisu_1931        3200        交易成功        2013-4-24 14:36        2013-4-24 14:37
46        10        334190403296112         tb9215353_77        4800        交易成功        2013-4-25 18:22        2013-4-26 12:21
47        11        334899204426766         bbbxxxhhh        1600        交易成功        2013-4-26 20:51        2013-4-26 20:58
48        12        335007120249165         barathrum1984        1600        交易成功        2013-4-26 23:21        2013-4-26 23:23
49        13        213966626066880         junbo_hl        1600        交易成功        2013-4-27 19:57        2013-4-27 19:57
                合计                25600
                本月交易金额为:25600元。
顶部
信天谨游
管理员
Rank: 9Rank: 9Rank: 9


UID 5
精华 0
积分 0
帖子 29695
阅读权限 200
注册 2007-4-3
状态 离线
发表于 2013-6-2 19:00  资料 文集 短消息 
2013淘宝整猪第七期数据统计:(第七期5月份统计)                               
2013年5月份统计共成交27单,交易金额43200元,成交时间:2013.05.01至2013.05.31                                       
总编号        月编号        订单编号        买家会员名        买家实际支付金额        订单状态        订单创建时间        订单付款时间
50        1        214842134512862         路边野草吹又生        1600        交易成功        2013-5-1 00:44        2013-5-1 00:45
51        2        214843299826328         housegh        1600        交易成功        2013-5-1 01:01        2013-5-1 01:02
52        3        215387575746795         jxh1        1600        交易成功        2013-5-2 19:23        2013-5-2 19:23
53        4        215451377006627         the4eye88        1600        交易成功        2013-5-2 22:08        2013-5-2 22:11
54        5        215500541173380         无贪        1600        交易成功        2013-5-3 00:18        2013-5-3 00:21
55        6        254745353201367         leon8888888        1600        交易成功        2013-5-4 17:32        2013-5-4 17:32
56        7        216059340191350         mikesive        1600        交易成功        2013-5-4 20:11        2013-5-4 20:12
57        8        340580160780483         yvannavy        1600        交易成功        2013-5-6 07:44        2013-5-6 07:44
58        9        217428699112777         pumc99        1600        交易成功        2013-5-9 07:04        2013-5-9 07:11
59        10        217743017665671         瞌睡与枕头1018        1600        交易成功        2013-5-10 02:06        2013-5-10 02:06
60        11        257324234711073         simonzenz        1600        交易成功        2013-5-10 17:06        2013-5-10 17:19
61        12        218954225201360         枫舞丽影        1600        交易成功        2013-5-13 20:50        2013-5-13 20:52
62        13        346292321110037         uniseraph        1600        交易成功        2013-5-14 16:19        2013-5-14 22:29
63        14        259846639242472         ksyumi        1600        交易成功        2013-5-16 13:09        2013-5-16 13:20
64        15        260528310263773         tension021        1600        交易成功        2013-5-17 22:25        2013-5-17 22:25
65        16        261238033068573         bj_feimeng        1600        交易成功        2013-5-19 20:11        2013-5-19 20:13
66        17        221347143135654         w_cindy        1600        交易成功        2013-5-21 10:47        2013-5-21 10:49
67        18        221426899296494         迦密村        1600        交易成功        2013-5-21 14:51        2013-5-21 14:52
68        19        261855277082505         listendl        1600        交易成功        2013-5-21 09:58        2013-5-21 20:08
69        20        222562707121083         chuzhe_wang        1600        交易成功        2013-5-24 20:27        2013-5-24 20:28
70        21        353212040771083         chuzhe_wang        1600        交易成功        2013-5-24 20:27        2013-5-24 20:29
71        22        264978436322094         jojook2011        1600        交易成功        2013-5-28 12:17        2013-5-28 12:19
72        23        265331036722636         b1ackf0x        1600        交易成功        2013-5-29 03:52        2013-5-29 03:56
73        24        224229496329612         suntowngm        1600        交易成功        2013-5-30 01:58        2013-5-30 02:00
74        25        356732400989612         suntowngm        1600        交易成功        2013-5-30 02:00        2013-5-30 13:38
75        26        224373300699612         suntowngm        1600        交易成功        2013-5-30 13:44        2013-5-30 13:45
76        27        357168960010352         stevenzhanli        1600        交易成功        2013-5-30 19:00        2013-5-30 19:02
                合计                43200                       
                本月交易金额为:43200元。
顶部
信天谨游
管理员
Rank: 9Rank: 9Rank: 9


UID 5
精华 0
积分 0
帖子 29695
阅读权限 200
注册 2007-4-3
状态 离线
发表于 2013-6-23 19:11  资料 文集 短消息 
特别说明:                                       
第七期整猪在2013年6月1日后还继续出售,一直到第八期整猪上架后,才下架。第七期整猪下架时间为:2013年6月20日 下午15:17分.                               
故:2013年6月1日之后的第七期整猪,将用于2014年元旦节举办节日宴用。                                               

    2013淘宝整猪第七期数据统计:(第七期6月份统计)                               
2013年6月份统计共成交4单,交易金额6400元,成交时间:2013.06.01至2013.06.20(下架时间),此次收款即将转入下次猪宴活动。                               
                                                       
总编号        月编号        订单编号        买家会员名        买家实际支付金额        订单状态        订单创建时间        订单付款时间
77        1        359075802928594         tb1092525_2011        1600        交易成功        2013-6-2 17:54        2013-6-2 17:56
78        2        227743505911152         df4ddf8b        1600        交易成功        2013-6-10 02:18        2013-6-10 02:19
79        3        228719859206238         阳阳花花        1600        交易成功        2013-6-13 21:34        2013-6-13 21:34
80        4        229162741684548         安安爱家小屋        1600        交易成功        2013-6-15 12:46        2013-6-16 11:50
                合计                6400                       
本月交易金额为:6400元。
顶部
信天谨游
管理员
Rank: 9Rank: 9Rank: 9


UID 5
精华 0
积分 0
帖子 29695
阅读权限 200
注册 2007-4-3
状态 离线
发表于 2013-6-23 19:27  资料 文集 短消息 
预留
顶部
信天谨游
管理员
Rank: 9Rank: 9Rank: 9


UID 5
精华 0
积分 0
帖子 29695
阅读权限 200
注册 2007-4-3
状态 离线
发表于 2013-6-23 19:28  资料 文集 短消息 
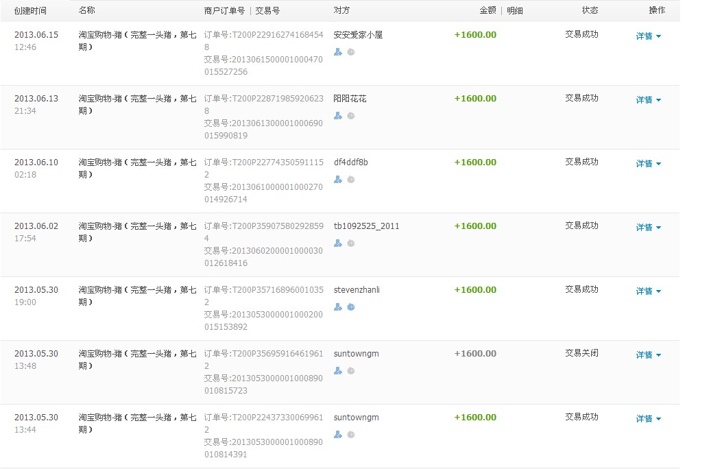
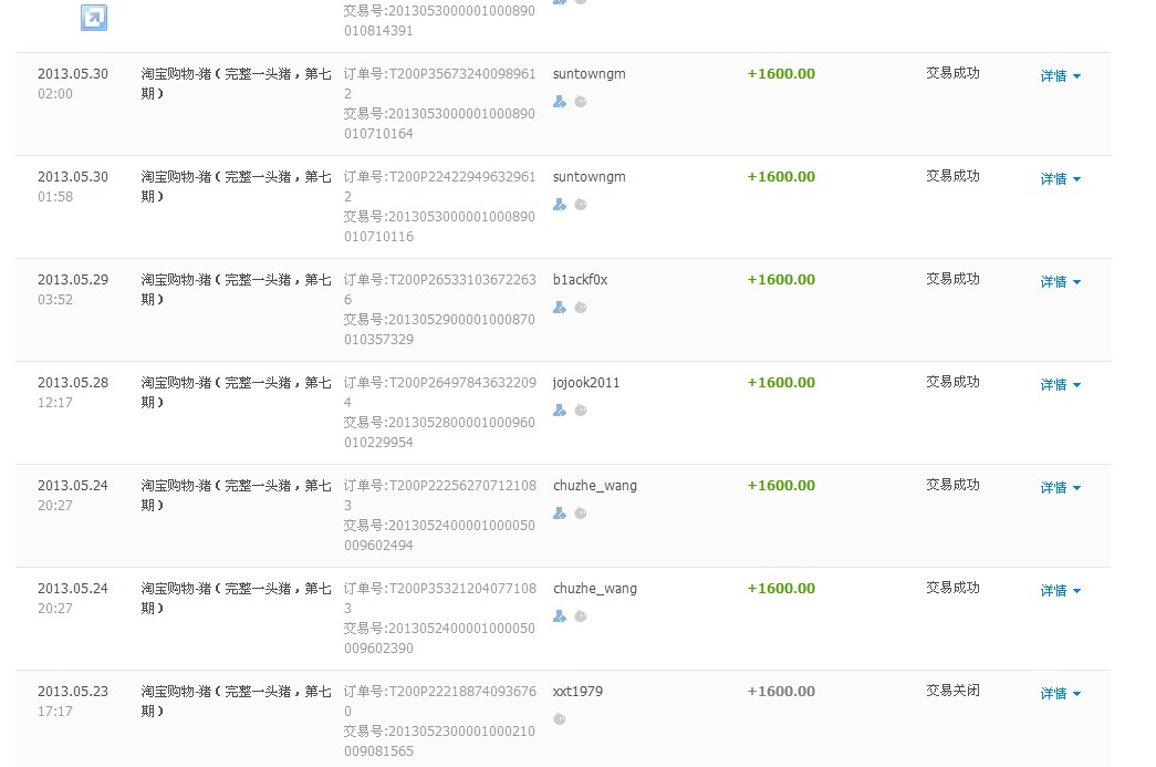
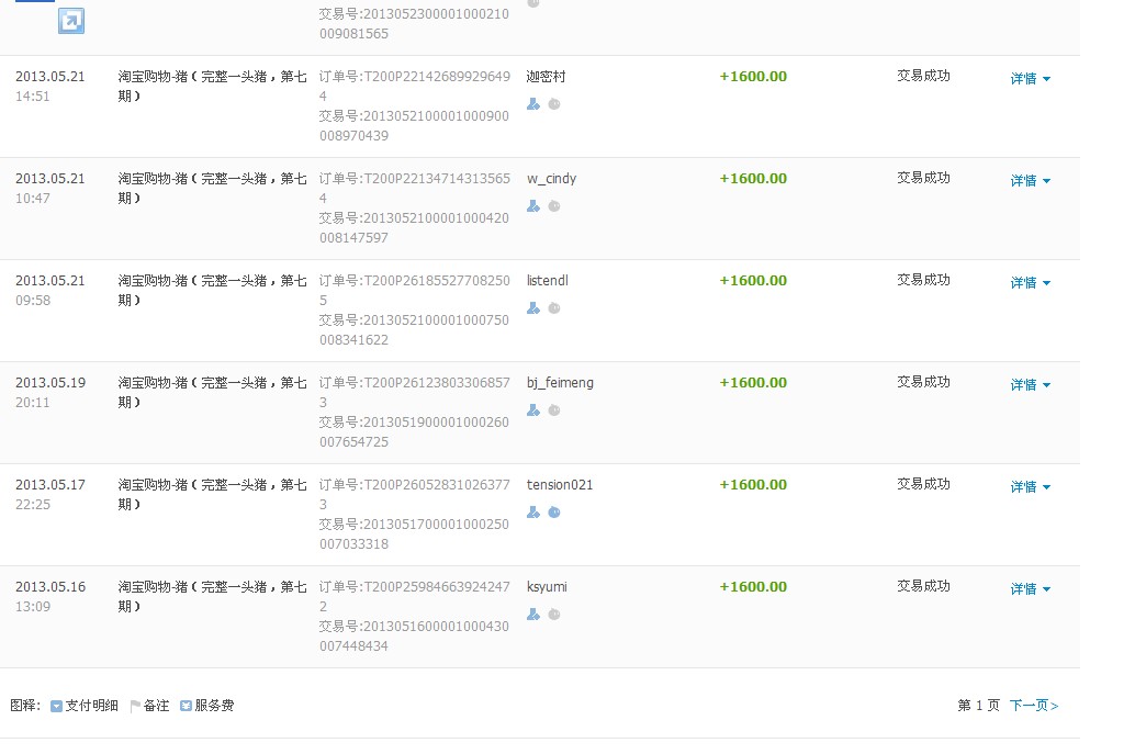
勘误说明:
由于我们的工作失误,在以上发布的明细中,漏统计了一单,此单成交日期是:2013年3月3日。
为了避免统计出错,我们决定再把截图的原始数据也公布一遍(图片版),这样与公布的文字版也能相互核对。
由于我们工作的失误给捐助人带来疑问和麻烦,深表歉意,对不起。
谢谢大家。


图片附件: 111.jpg (2013-6-23 19:58, 100.31 K)



图片附件: 112.jpg (2013-6-23 19:58, 98.36 K)



图片附件: 113.jpg (2013-6-23 19:58, 89.7 K)



图片附件: 114.jpg (2013-6-23 19:58, 98.48 K)

顶部
 


当前时区 GMT+8, 现在时间是 2025-11-18 01:53
京ICP备07004120号

    本论坛支付平台由支付宝提供
携手打造安全诚信的交易社区 Powered by Discuz! 5.0.0  © 2001-2006 Comsenz Inc.
清除 Cookies - 联系我们 - 信天谨游 - Archiver