游客:
注册
|
登录
|
会员
|
统计
|
帮助
信天谨游
»
改善学生伙食
» 2013年六一猪宴淘宝收款统计——整猪卖第七期
‹‹ 上一主题
|
下一主题 ››
13
2/2
‹‹
1
2
投票
交易
悬赏
活动
打印
|
推荐
|
订阅
|
收藏
标题: 2013年六一猪宴淘宝收款统计——整猪卖第七期
信天谨游
管理员
UID 5
精华 0
积分 0
帖子 29924
阅读权限 200
注册 2007-4-3
状态 离线
#11
发表于 2013-6-23 19:28
资料
文集
短消息
.
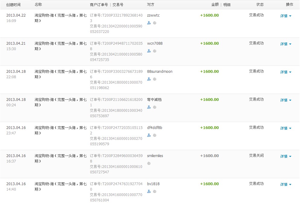
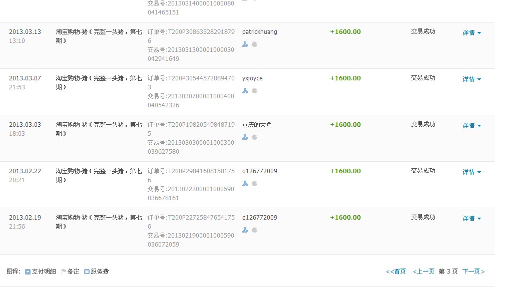
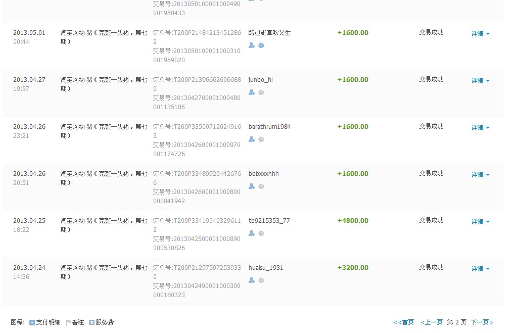
图片附件
:
115.jpg
(2013-6-23 19:58, 96.22 K)
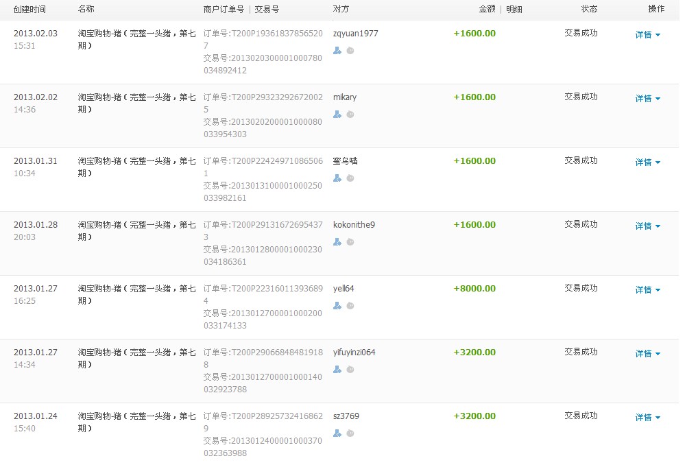
图片附件
:
116.jpg
(2013-6-23 19:58, 91.88 K)
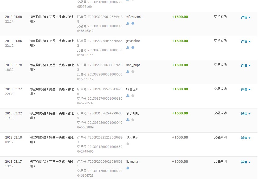
图片附件
:
117.jpg
(2013-6-23 19:58, 97.05 K)
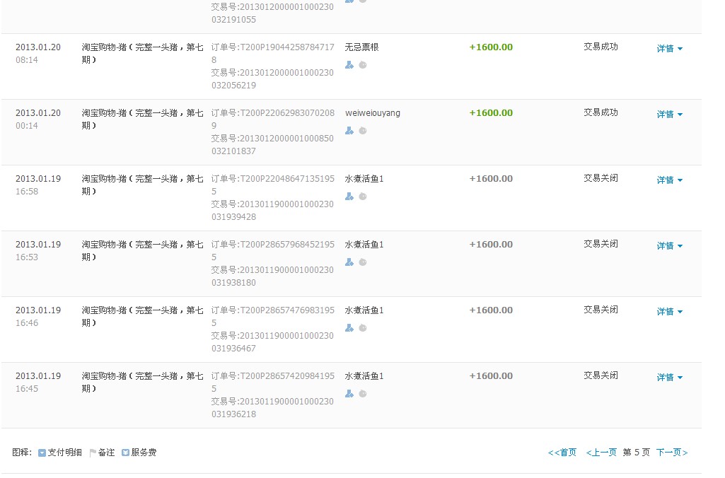
图片附件
:
118.jpg
(2013-6-23 19:58, 95.34 K)
信天谨游
管理员
UID 5
精华 0
积分 0
帖子 29924
阅读权限 200
注册 2007-4-3
状态 离线
#12
发表于 2013-6-23 19:59
资料
文集
短消息
.
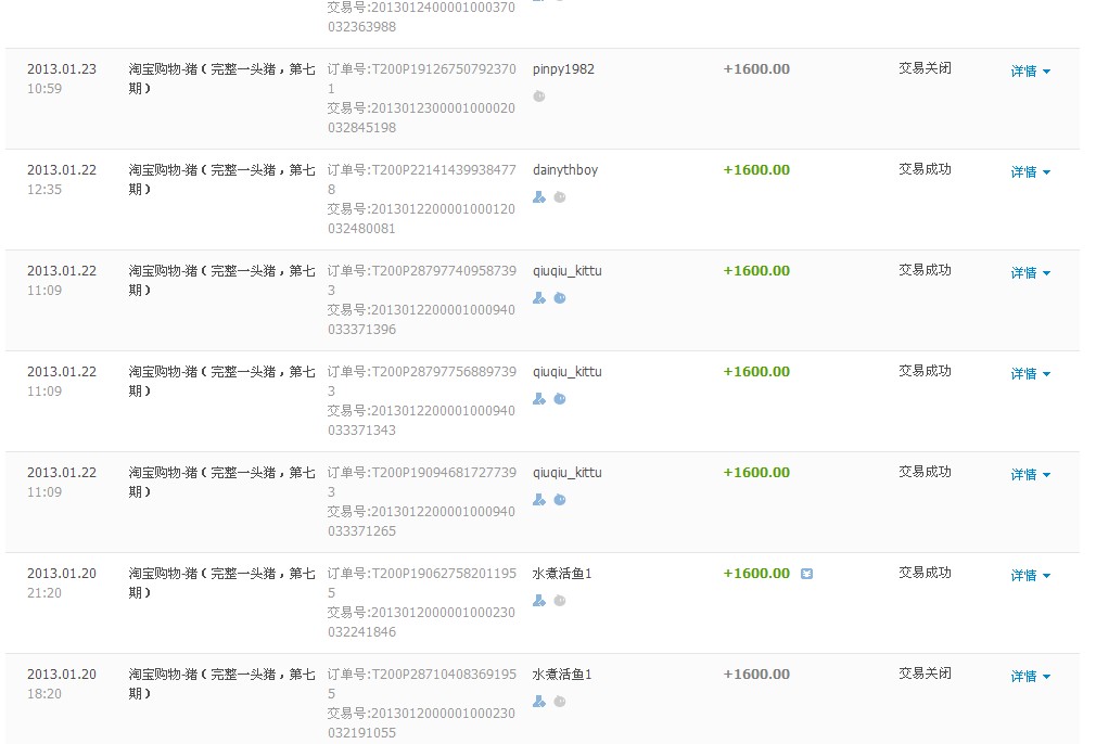
图片附件
:
119.jpg
(2013-6-23 19:59, 79.51 K)
图片附件
:
120.jpg
(2013-6-23 19:59, 96.94 K)
图片附件
:
121.jpg
(2013-6-23 19:59, 95.38 K)
图片附件
:
122.jpg
(2013-6-23 19:59, 95.49 K)
信天谨游
管理员
UID 5
精华 0
积分 0
帖子 29924
阅读权限 200
注册 2007-4-3
状态 离线
#13
发表于 2013-6-23 20:00
资料
文集
短消息
.
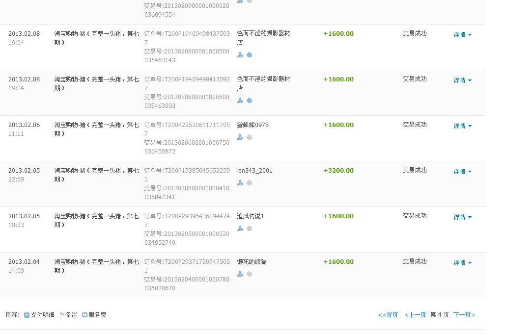
图片附件
:
123.jpg
(2013-6-23 20:00, 97.4 K)
图片附件
:
124.jpg
(2013-6-23 20:00, 98.85 K)
图片附件
:
125.jpg
(2013-6-23 20:00, 91.48 K)
图片附件
:
126.jpg
(2013-6-23 20:00, 87.24 K)
13
2/2
‹‹
1
2
投票
交易
悬赏
活动
最近访问的论坛 ...
一对一资助
助学交流
山村修路
待修建学校
信天谨游
信天谨游助学
> 修建学校
> 一对一资助
> 勘误表
> 山村修路
> 改善学生伙食
> 助学交流
> 待修建学校
> 预算勘误表
> 其它助学活动
> 走访资料
> 助学之友
> 学生园地
> 版务
当前时区 GMT+8, 现在时间是 2026-2-15 22:51
京ICP备07004120号
Powered by
Discuz!
5.0.0
© 2001-2006
Comsenz Inc.
TOP
清除 Cookies
-
联系我们
-
信天谨游
-
Archiver
控制面板首页
编辑个人资料
积分交易
公众用户组
好友列表
基本概况
论坛排行
主题排行
发帖排行
积分排行
在线时间
管理团队